近日,任天堂的一项新专利揭示了Switch 2的一项令人兴奋的新功能——JoyCon手柄的鼠标模式。这一创新功能有望为玩家带来更加灵活和多样化的游戏体验。

JoyCon手柄鼠标模式
根据外媒报道,任天堂最近公开的一项专利显示,Switch 2的JoyCon手柄将具备鼠标功能。通过这一模式,玩家可以将JoyCon手柄用作普通PC鼠标,实现更加精准和灵活的操作。

专利细节曝光
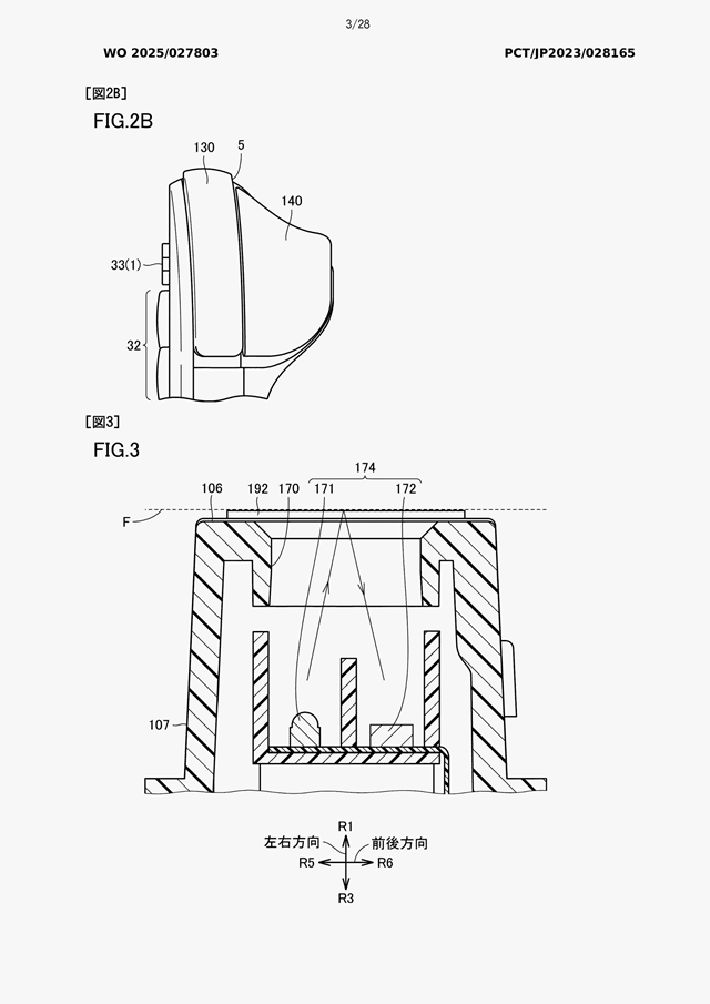
在专利网页的图纸部分,我们可以看到Switch 2及其新型磁吸式Joy-Con的详细草图。这些草图展示了Joy-Con手柄在鼠标模式下的使用情景,甚至在某些情况下,玩家可以一手握持一个Joy-Con,实现更加便捷的操作。





游戏体验的提升
这一新功能的加入,将为Switch 2玩家带来诸多好处:
- 精准控制:在需要精确操作的游戏中,如策略游戏或模拟游戏,JoyCon手柄的鼠标模式将大大提升操作的精准度。
- 多样化玩法:玩家可以根据不同游戏的需求,灵活切换手柄和鼠标模式,享受更加多样化的游戏体验。
- 便捷操作:一手握持一个Joy-Con的设计,使得玩家在操作过程中更加便捷,无需频繁切换设备。
任天堂Switch 2的JoyCon手柄鼠标模式,无疑是游戏界的一大创新。这一功能的加入,不仅丰富了Switch 2的游戏体验,也为玩家提供了更多的操作选择。让我们共同期待Switch 2的正式发布,体验这一全新的游戏功能吧!





发条总动员
燕云十六声
永劫无间手游
和平精英
英雄联盟手游
鸣潮
星痕共鸣
无畏契约手游
原神